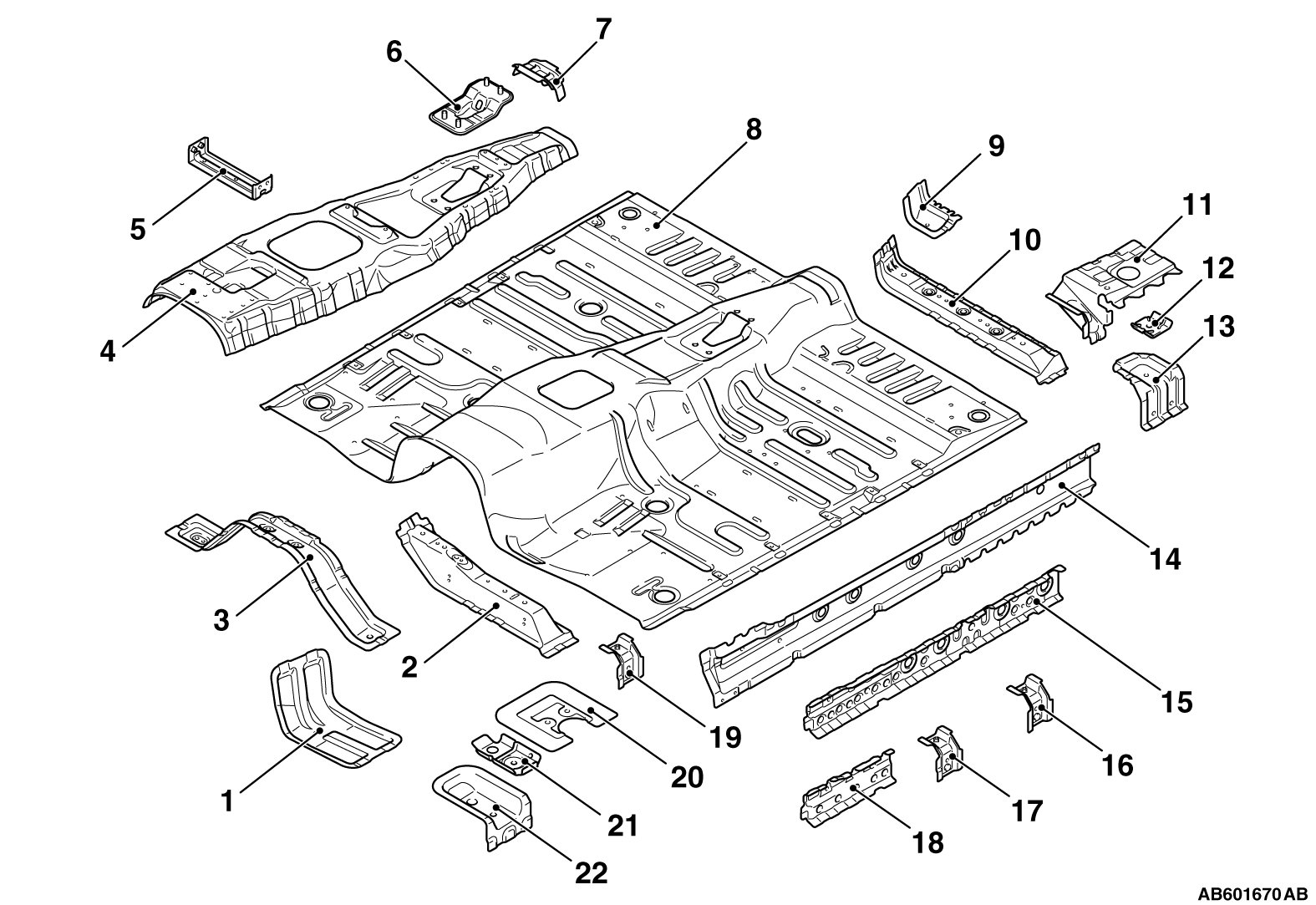
1.
|
Front floor reinforcement
|
2.
|
Front floor crossmember front
|
3.
|
Backbone crossmember front
|
4.
|
Backbone reinforcement
|
5.
|
Instrument panel bracket front floor
|
6.
|
Parking brake reinforcement
|
7.
|
Support cable bracket
|
8.
|
Front floor pan
|
9.
|
Seat anchor reinforcement
|
10.
|
Front floor crossmember rear
|
11.
|
Body mounting No.3 reinforcement upper
|
12.
|
Body mounting No.3 reinforcement lower
|
13.
|
Body mounting No.3 bracket
|
14.
|
Front floor side sill inner
|
15.
|
Side sill inner reinforcement front
|
16.
|
Side step front floor reinforcement rear (Vehicles with side step)
|
17.
|
Side step front floor reinforcement front (Vehicles with side step)
|
18.
|
Side sill inner reinforcement brace front
|
19.
|
Front floor crossmember front gusset
|
20.
|
Body mounting No.2 reinforcement upper
|
21.
|
Body mounting No.2 reinforcement lower
|
22.
|
Body mounting No.2 bracket
|