REMOVAL AND INSTALLATION



caution
  • Do not use impact wrench.
  • Do not drop or shock the G and yaw rate sensor.
  • When the G and yaw rate sensor is replaced or installed, always carry out calibration to make ASC-ECU learn the neutral point (Refer to ).
Pre-removal and post-installation stepsInstrument panel console cover removal and installation (Refer to GROUP 52A - Instrument panel assembly ).




Removal steps


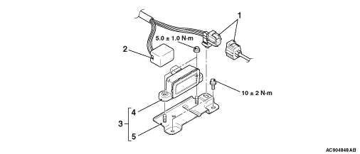
1.
Oxygen sensor (front) connector <Vehicles for Russia or South Africa>


2.
G and yaw rate sensor harness connector


3.
G and yaw rate sensor and G and yaw rate sensor bracket


4.
G and yaw rate sensor


5.
G and yaw rate sensor bracket