REMOVAL AND INSTALLATION




DOOR SPEAKER






Front door speaker removal steps


·
Front door trim (Refer to GROUP 52A, Door Trim .


1.
Door Speaker connector connection
<<A>>

2.
Front door Speaker



Rear door speaker removal steps


·
Rear door trim (Refer to GROUP 52A, Door Trim .


1.
Door Speaker connector connection
<<A>>

3.
Rear door Speaker

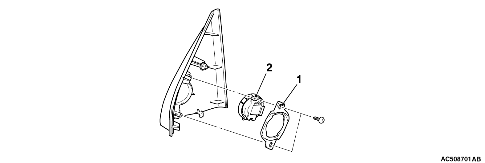
TWEETER







Removal steps


·
Front door sash trim (Refer to GROUP 52A, Door Trim .


1.
Tweeter bracket


2.
Tweeter

REMOVAL SERVICE POINTS



<<A>> SPEAKER REMOVAL



1.Disconnect the connector from the speaker.
2.Remove by turning the speaker to the left.