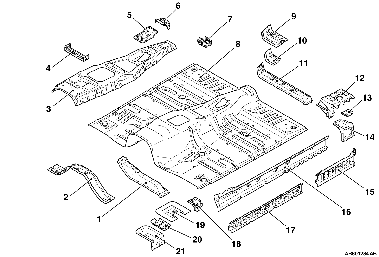
1.
|
Front floor crossmember front
|
2.
|
Backbone crossmember front
|
3.
|
Backbone reinforcement
|
4.
|
Instrument panel bracket front floor
|
5.
|
Parking brake reinforcement (Vehicles with lever type parking brake)
|
6.
|
Support cable bracket (Vehicles with lever type parking brake)
|
7.
|
Jack bracket
|
8.
|
Front floor pan
|
9.
|
Seat belt anchor reinforcement (Vehicles with bench seat)
|
10.
|
Seat anchor reinforcement (Vehicles with separate seat)
|
11.
|
Front floor crossmember rear
|
12.
|
Body mounting No.3 reinforcement upper
|
13.
|
Body mounting No.3 reinforcement lower
|
14.
|
Body mounting No.3 bracket
|
15.
|
Side sill inner reinforcement rear
|
16.
|
Front floor side sill inner
|
17.
|
Side sill inner reinforcement front
|
18.
|
Front floor crossmember front gusset
|
19.
|
Body mounting No.2 reinforcement upper
|
20.
|
Body mounting No.2 reinforcement lower
|
21.
|
Body mounting No.2 bracket
|