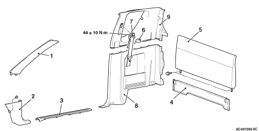
REMOVAL AND INSTALLATION <CLUB CAB>






1.
Front pillar trim


2.
Cowl side trim


3.
Front scuff plate


4.
Cab rear end lower trim


5.
Cab rear end trim


6.
Sash guide cover


7.
Front seat belt bolt


8.
Quarter lower trim


9.
Quarter upper trim

CLIP AND CLAW POSITIONS