REMOVAL AND INSTALLATION
INSTALLATION SERVICE POINTS |
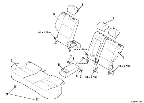
>>A<<REAR SEATBACK ASSEMBLY (LH)/REAR SEATBACK ASSEMBLY (RH) INSTALLATION |
![]() |
1.Place the rear seat reclining adjuster of the rear seatback assembly (LH) on top of the rear seat reclining adjuster of the rear seatback assembly (RH) for installation. |
![]() |
2.Among the three fixed positions, securely fit the rear seat folding cable in the centre position. |
>>B<<REAR SEAT CUSHION ASSEMBLY INSTALLATION |
![]() |
Fit the rear seat cushion into the rear seat hook securely. |




