REMOVAL AND INSTALLATION







Removal


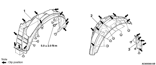
1.
Splash shield front


2.
Splash shield (body side)


3.
Splash shield (rear bumper side)