OUTLANDER 3G year 2012-2020
Twitter
Facebook
Snapchat
Instagram
Medium
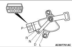
INHIBITOR SWITCH CHECK
Selector lever position
Terminal connection of tester
Specified condition
P
3 - 2, 7 - 10
Less than 2 ohms.
R
3 - 9
N
3 - 8, 7 - 10
D
3 - 5
L
3 - 1
Menu
Homepage
Mitsubishi Cars
Outlander 2008
Outlander 2013
TRITON 2007
TRITON 2013
LANCER 2009
PAJERO 2009
PAJERO 2013
ASX 2013
i-MiEV 2011
Privacy Policy
About Us
Terms of Use
Contact Us
SERVICE MANUALS
TOYOTA
TOYOTA COROLLA
FORD
JEEP
Chevrolet
MAZDA CX-5
HYUNDAI
HONDA
Mercedes-Benz