REMOVAL AND INSTALLATION



Pre-removal Operation
  • Engine Room Under Cover Front A, B and Engine Room Side Cover (LH) Removal (Refer to GROUP 51 - Under Cover ) <4N1>.
  • Battery and Battery Tray Removal (Refer to GROUP 54A - Battery ).
  • Air Cleaner Assembly Removal (Refer to GROUP 15 - Air Cleaner ) <4B1, 4J1>.
  • Air Cleaner Assembly Removal (Refer to GROUP 15 - Air Cleaner ) <4N1>.
  • Engine-ECU Removal (Refer to GROUP 13A - Engine-ECU ) <4B1>.
  • Engine-ECU Removal (Refer to GROUP 13C - Engine-ECU ) <4J1>.
  • Engine-ECU Removal (Refer to GROUP 13D - Engine-ECU ) <4N1>.

Post-installation Operation
  • Engine-ECU Installation (Refer to GROUP 13A - Engine-ECU ) <4B1>.
  • Engine-ECU Installation (Refer to GROUP 13C - Engine-ECU ) <4J1>.
  • Engine-ECU Installation (Refer to GROUP 13D - Engine-ECU ) <4N1>.
  • Air Cleaner Assembly Installation (Refer to GROUP 15 - Air Cleaner) <4B1, 4J1>.
  • Air Cleaner Assembly Installation (Refer to GROUP 15 - Air Cleaner) <4N1>.
  • Battery and Battery Tray Installation (Refer to GROUP 54A - Battery ).
  • Engine Room Under Cover Front A, B and Engine Room Side Cover (LH) Installation (Refer to GROUP 51 - Under Cover ) <4N1>.





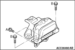
Removal
<<A>>
>>A<<
1.
Transmission mounting bracket

REMOVAL SERVICE POINT



<<A>> TRANSMISSION MOUNTING BRACKET REMOVAL


1.Place a garage jack against the transmission case with a piece of wood in between to support the engine and transmission assembly.
2.Operate a garage jack so that the transmission weight is not applied to the transmission mounting bracket, and remove the transmission mounting bracket.

INSTALLATION SERVICE POINT



>>A<< TRANSMISSION MOUNTING BRACKET INSTALLATION


caution Do not remove small tapping screw on the back side.

Tighten the transmission mounting bracket mounting bolts by the following procedure.
Order
Bolt
Tightening torque
1st
A
Approximately 0 - 5.0 N·m
2nd
B
50 ± 5 N·m
3rd
A
50 ± 5 N·m