REMOVAL AND INSTALLATION



caution Do not apply lubricant (grease or silicon system sprayer etc.) to the switch and the switch installation section to avoid malfunction of the switch. In addition, do not use gloves which have lubricant (grease or silicon system sprayer etc.) on them.
Pre-removal operation
  • Front Scuff Plate <LH> and Cowl Side Trim <LH> Removal (Refer to GRUOP 52A, Interior Trim .)
  • Steering Column Lower Cover and Side Lower Panel Removal (Refer to GRUOP 52A, Instrument Panel Assembly .)

Post-installation operation
  • Steering Column Lower Cover and Side Lower Panel Installation (Refer to GRUOP 52A, Instrument Panel Assembly .)
  • Front Scuff Plate <LH> and Cowl Side Trim <LH> Installation (Refer to GRUOP 52A, Interior Trim .)





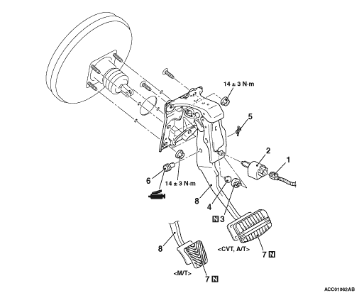
Removal steps


1.
Stop lamp switch connector connection


2.
Stop lamp switch


3.
Pedal clip


4.
Pedal stopper


5.
Snap pin


6.
Pin assembly


7.
Pedal pad
<<A>>

8.
Brake pedal assembly

REMOVAL SERVICE POINT



<<A>> BRAKE PEDAL ASSEMBLY REMOVAL


From the engine compartment side, remove the brake pedal assembly while pulling the brake booster.