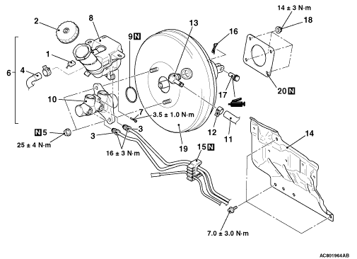
REMOVAL AND INSTALLATION <RHD>



MASTER CYLINDER AND BRAKE BOOSTER


caution Do not touch the push rod in the brake booster because it is already adjusted.
Pre-removal operation
  • Brake Fluid Draining.
  • Air Cleaner Assembly Removal (Refer to GROUP 15 - Air Cleaner <4N1>).

Post-installation operation
  • Air Cleaner Assembly Installation (Refer to GROUP 15 - Air Cleaner <4N1>).
  • Brake Fluid Refilling and Air Bleeding.





Master cylinder removal steps



1.
Brake fluid level switch connector connection


2.
Reservoir cap


3.
Brake pipe connection

>>B<<
·
Bleeding of master cylinder assembly (only at installation)


4.
Reservoir hose connection <M/T>


5.
Master cylinder mounting nuts


6.
Reservoir assembly and master cylinder assembly


7.
Torx bolt


8.
Reservoir assembly


9.
O-ring


10.
Master cylinder assembly



Brake booster removal steps



1.
Brake fluid level switch connector connection


3.
Brake pipe connection

>>B<<
·
Bleeding of master cylinder assembly (only at installation)


4.
Reservoir hose connection <M/T>


5.
Master cylinder mounting nuts


6.
Reservoir assembly and master cylinder assembly

>>A<<
11.
Vacuum hose connection


12.
Hose clip


13.
Check valve


14.
Dash panel heat protector


15.
Brake fluid line clip connection


16.
Snap pin


17.
Pin assembly


18.
Brake booster mounting nut


19.
Brake booster assembly


20.
Seal

VACUUM HOSE AND VACUUM PIPE






Removal steps

>>A<<
1.
Vacuum hose


2.
Hose clip

>>A<<
3.
Vacuum hose


4.
Hose clip

>>A<<
5.
Vacuum hose


6.
Hose clip


7.
Vacuum pipe


8.
Vacuum pipe


9.
Clamp

INSTALLATION SERVICE POINTS



>>A<< VACUUM HOSE INSTALLATION



Align the mark as shown in the figure to assemble the vacuum hose.

>>B<< BLEEDING OF MASTER CYLINDER ASSEMBLY


When removed the master cylinder assembly, bleed the master cylinder in the following procedure to make bleeding of the brake pipeline easier (When no brake fluid is in the master cylinder).
1.Fill the brake fluid reservoir with the brake fluid.
2.Depress and hold the brake pedal.

3.Another operator closes the master cylinder outlets with his fingers.
4.In this condition, release the brake pedal.
5.Repeat Steps 2 to 4 for 3 or 4 times to fill the master cylinder with the brake fluid.