
|
1.| caution |
- Do not connect the battery terminals in reverse as the wheel speed sensor may be damaged.
- When the current value is measured by the wheel speed sensor connector, measure it with the wheel speed sensor installed in the vehicle.
|
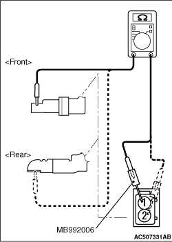
Connect the circuit tester to the wheel speed sensor using the special tool extra fine probe (MB992006), and measure the sensor current as a single unit. Standard value: 5.9 to 8.4 mA or 11.8 to 16.8 mA 2.If the measurement value is not within the standard value range, replace the wheel speed sensor with a new one.
|

|
1.Connect the circuit tester to the wheel speed sensor using the special tool extra fine probe (MB992006), and measure the insulation resistance between the terminal No. 1/2 and the wheel speed sensor body as a single unit. Standard value: 5 MΩ
or more 2.If the insulation resistance is not within the standard value range, replace the wheel speed sensor with a new one.
|