REMOVAL AND INSTALLATION







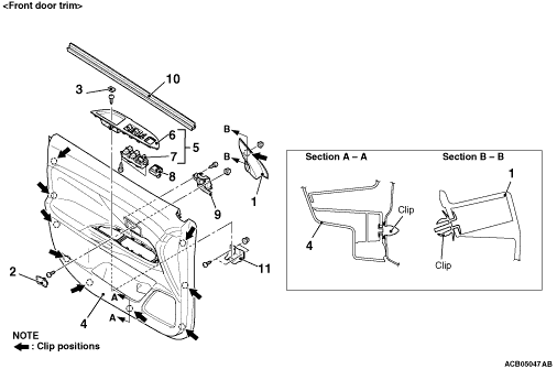
Front door trim removal steps


·
Tweeter connector


1.
Front door sash trim
<<A>>

2.
Inside handle cover cap
<<B>>

3.
Door trim cap
<<C>>
>>A<<
4.
Front door trim


5.
Power window switch assembly


6.
Power window switch panel


·
Power window switch connector


7.
Power window switch


8.
Remote-controlled mirror switch


9.
Inside handle cover


10.
Door beltline weatherstrip inner


11.
Front door pull handle bracket





Rear door trim removal steps
<<A>>

1.
Inside handle cover cap
<<B>>

2.
Door trim cap
<<C>>
>>A<<
3.
Rear door trim


4.
Power window switch assembly


5.
Power window switch panel


6.
Power window switch


7.
Inside handle cover


8.
Door beltline weatherstrip inner


9.
Rear door pull handle bracket

REMOVAL SERVICE POINTS



<<A>> INSIDE HANDLE COVER CAP REMOVAL



Insert a flat-tipped screwdriver as shown in the figure to remove the inside handle cover cap.

<<B>> DOOR TRIM CAP



Insert a flat-tipped screwdriver as shown in the figure to remove the door trim cap.

<<C>> FRONT/REAR DOOR TRIM REMOVAL



Using a flat-tipped screwdriver as shown in the figure, remove the inside lock cable and the inside handle cable, then remove the door trim.

INSTALLATION SERVICE POINTS



>>A<< FRONT DOOR/REAR DOOR TRIM INSTALLATION


After the power window switch is installed or replaced, perform learning of the power window fully-closed position (Refer to GROUP 42A - Door Glass and Regulator ).