BATTERY CURRENT SENSOR CHECK <2200>



CURRENT SENSOR RESISTANCE VALUE



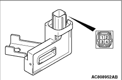
Use the circuit tester to measure the resistance value between battery current sensor connector terminals.

Standard value:
1.
Terminal No. (positive terminal - negative terminal)
Resistance (kΩ)
1 - 3
3 - 10
1 - 4
Less than 0.5
3 - 4
3 - 10

TEMPERATURE SENSOR RESISTANCE VALUE



Using the circuit tester, measure the resistance value between the battery current sensor connector terminal No. 2 and No. 3.

Standard value:
1.
Temperature (°C)
Resistance (kΩ)
0
4.5 - 7.2
25
1.6 - 2.5
40
0.96 - 1.40