OSS (ONE-TOUCH START SYSTEM)






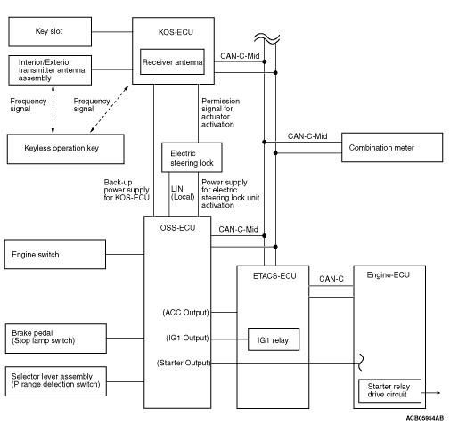
ONE-TOUCH START SYSTEM CONFIGURATION





ONE-TOUCH START SYSTEM VALID AREA





note

If the keyless operation key battery is discharged, the one-touch start system (power supply changeover, engine start/stop) becomes available when the keyless operation key is inserted into the key slot located in the floor console. When inserting the keyless operation key to the key slot, easy locking of the key can be performed by inserting the key from the emergency key side.

Power supply changeover control (Operation description)




Flow of power supply changeover control
<1>
Under the power OFF status, operate the engine switch without depressing the brake pedal.
<2>
By the operation of engine switch, OSS-ECU sends KOS-ECU the certification request via CAN, and at the same time, supplies the electric steering lock unit power to the electric steering lock.
<3>
In accordance with the certification request from OSS-ECU, KOS-ECU performs the certification communication with the keyless operation key.
<4>
KOS-ECU sends the key certification result to OSS-ECU via CAN. OSS-ECU compares its certification result with the KOS-ECU certification result, and goes to <5> when the results agree with each other.
<5>
OSS-ECU performs the certification communication with the electric steering lock via LIN (local LIN). The electric steering lock compares the certification result with that of OSS-ECU, and unlocks the steering lock when the results agree with each other.
<6>
After the certification communication with the electric steering lock, OSS-ECU sends the ACC output to ETACS-ECU. Then, ETACS-ECU drives the internal ACC relay to turn the power to ACC.
<7>
With the power supply set to ACC, when the engine switch is operated again without depressing the brake pedal <CVT vehicle>, OSS-ECU sends the IG1 output. Then, the current is supplied to the IG1 relay in ETACS-ECU, thus driving the IG1 relay and turning the power ON. (At this time, OSS-ECU also communicates with engine-ECU to certify the engine start.)
<8>
With the power supply set to ON, when the engine switch is operated again without depressing the brake pedal, the power of the CVT vehicle is turned OFF when the selector lever is in the P position, or the power is turned to ACC when in other than the P position. When the vehicle speed information, which is received via CAN, cannot be received or when the vehicle speed is 3 km/h or more, any standard engine switch operations will not be accepted. However, the power can be turned to ACC by the emergency stop operation*.
note *: The emergency stop operation refers to the operation to press and hold the engine switch for 3 seconds or longer, or to repeatedly press the engine switch 3 times or more within 1 second. After the emergency stop operation, OSS-ECU will not accept the engine switch operation for 2 seconds.

Electric steering lock locking/unlocking control (Operation description)




Flow of electric steering lock unlocking control
·
Lock status of electric steering lock
<1>
KOS-ECU outputs the actuator driving permission signal to the electric steering lock.
<2>
By the operation of engine switch, OSS-ECU sends KOS-ECU the certification request via CAN, and at the same time, supplies the electric steering lock unit power to the electric steering lock.
·
Matching of certification results with KOS-ECU (Refer to Step <1> to <4> of power supply changeover control.)
<3>
OSS-ECU performs the certification communication with the electric steering lock via LIN (local LIN). The electric steering lock compares the certification result with that of OSS-ECU, and unlocks the electric steering lock by driving the internal actuator when the results agree with each other.
<4>
After the electric steering lock is unlocked, OSS-ECU stops the supplying of electric steering lock unit power to the electric steering lock. (Subsequently, OSS-ECU sends the ACC output to ETACS-ECU. Then, ETACS-ECU drives the internal ACC relay to turn the power to ACC.)
<5>
After the engine is started, KOS-ECU stops the actuator driving permission signal for the electric steering lock.


Flow of electric steering lock locking control
·
Unlock status of electric steering lock
<1>
KOS-ECU supplies the actuator driving power to the electric steering lock.
<2>
With the power supply set to OFF, OSS-ECU receives the door status change (excluding tailgate) from ETACS-ECU via CAN. Using the door status change from "Open to Close to Open" as a trigger*, OSS-ECU supplies the electric steering lock unit power to the electric steering lock, and then performs the certification communication via LIN (local LIN). The electric steering lock compares the certification result with that of OSS-ECU, and locks the steering lock by driving the internal actuator when the results agree with each other.
note *: The trigger also includes the operation of lock/unlock button on keyless operation key as well as the door locking/unlocking by the operation of keyless operation switch.
<3>
After the electric steering lock is locked, OSS-ECU stops the supplying of electric steering lock unit power to the electric steering lock.

Engine start control (Operation description.)




Flow of engine start control
<1>
With the power supply set to OFF, operate the engine switch while depressing the brake pedal.
·
Matching of certification results with KOS-ECU and electric steering lock (Refer to Step <2> to <5> of power supply changeover control.)
<2>
At the same time with the transmission of certification request to engine-ECU via CAN, OSS-ECU also sends the starter output to engine-ECU.
<3>
Engine-ECU supplies current to the starter relay to perform cranking. Also, engine-ECU compares its own certification result with the OSS-ECU certification result, and starts the engine when the results agree with each other. (If the certification results do not agree with each other, engine-ECU stops the supplying of current to the starter relay and injector. Also, OSS-ECU stops the starter output.)
<4>
After the engine start is complete, OSS-ECU stops the starter output.