
|
1.Check whether there is any damage such as crack or peel at the seal portion shown in the
illustration. If it is found, replace the propeller shaft with new one.
|

|
2.Check the condition of the tube. If crack, chip or deformation is found, replace the propeller
shaft with new one. When flaw is found, confirm whether there is any failure by using a dye penetrant.
If a failure is found, replace the propeller shaft.
|

|
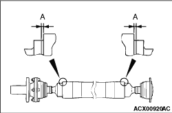
3.Measure the clearance (A) between the tube and the shaft at the end portion of the tube. Standard value (A): 1 - 1.3 mm 4.If the standard value is not met, replace the rear propeller shaft.
|

|
1.Hold the tube of propeller shaft by one hand, and apply force by the other hand to the
flange yoke or sleeve yoke in rotative direction, axial direction, and perpendicular direction
for checking looseness. 2.If looseness is recognized, perform service work or replace the propeller shaft with
a new one.
|

|
Perform grease-up with a grease gun, and check the grease ejected from the oil seal when
grease-up is completed. Judgement standard
- If blackish grease is evenly ejected from the oil seal
periphery, it is normal.
- If non-discoloured grease is ejected from the specific area (partially), the grease amount
is insufficient and the oil seal is worn. Perform service work or replace the propeller shaft with
a new one.
- If the white cloudy grease is ejected, water has been mixed in grease. Perform service work
or replace the propeller shaft with a new one.
|