REMOVAL AND INSTALLATION



Pre-removal Operation
  • Floor Console Removal (Refer to GROUP 52A, Floor Console Assembly ).
  • Shoe and Lining Assembly Removal (Refer to <Short wheelbase> or <Long wheelbase>).

Post-installation Operation
  • Shoe and Lining Assembly Installation (Refer to <Short wheelbase> or <Long wheelbase>).
  • Parking Brake Lever Stroke Check and Adjustment (Refer to ).
  • Floor Console Installation (Refer to GROUP 52A, Floor Console Assembly ).






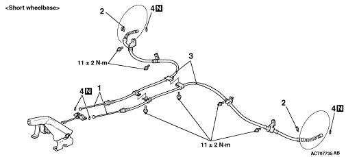
Removal steps


1.
Parking brake rear cable connection


2.
Clip <Short wheelbase>


3.
Parking brake rear cable


4.
O-ring