REMOVAL AND INSTALLATION



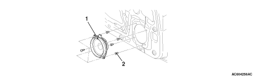
FRONT DOOR SPEAKER


Pre-removal OperationLearning of the power window fully closed position (Refer to GROUP 42 - Door, On-vehicle service ).




Removal steps


·
Front door trim (Refer to GROUP 52A, Door Trim ).


1.
Front door speaker


2.
Screw grommet

REAR DOOR SPEAKER <LONG WHEELBASE>


Pre-removal OperationLearning of the power window fully closed position (Refer to GROUP 42 - Door, On-vehicle service ).




Removal steps


·
Rear door trim (Refer to GROUP 52A, Door Trim ).


1.
Rear door speaker


2.
Screw grommet


3.
Rear door speaker bracket


4.
Screw grommet

REAR SPEAKER <SHORT WHEELBASE>


Pre-removal OperationLearning of the power window fully closed position (Refer to GROUP 42 - Door, On-vehicle service ).




Removal steps


·
Lower quarter trim (Refer to GROUP 52A - Interior Trim ).


1.
Rear speaker


2.
Rear speaker bracket

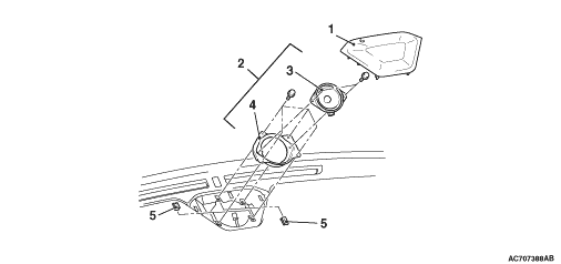
FRONT SPEAKER






Removal steps


1.
Front speaker garnish


2.
Front speaker assembly


3.
Front speaker


4.
Front speaker bracket


5.
Speed nut

BACK DOOR SPEAKER






Back door speaker removal steps (LH)


·
Back door centre trim (Refer to GROUP 52A - Back Door Trim ).


1.
Back door speaker assembly (LH)


2.
Back door speaker (LH)


3.
Back door speaker bracket (LH)


4.
Screw grommet



Back door speaker removal steps (RH)


5.
Back door speaker assembly (RH)


6.
Back door speaker (RH)


7.
Back door speaker bracket (RH)

FRONT TWEETER







Removal Steps

>>A<<
1.
Delta cover assembly


2.
Tweeter bracket


3.
Tweeter


4.
Delta cover

INSTALLATION SERVICE POINT



>>A<< DELTA COVER ASSEMBLY INSTALLATION



Mount with the clip attached.

REAR TWEETER


Pre-removal OperationLearning of the power window fully closed position (Refer to GROUP 42 - Door, On-vehicle service ).




Removal Steps


·
Rear door trim (Refer to GROUP 52A, Door Trim ).


1.
Tweeter bracket


2.
Tweeter

SUBWOOFER






Removal Steps


·
Lower quarter trim (LH) (Refer to GROUP 52A, Interior Trim ).


1.
Rear speaker box assembly


2.
Speaker


3.
Rear speaker box