REMOVAL AND INSTALLATION



Pre-removal OperationMove the transmission control lever to the following positions.

  • Transmission control lever: Neutral
Post-installation OperationCheck that the transmission control lever and the transfer control lever are moved to each position smoothly and correctly.




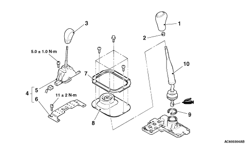
Removal steps


1.
Shift knob

>>A<<
2.
Sleeve


3.
Transfer shift lever knob


·
Shift indicator panel (Refer to GROUP 52A - Floor Consol Assembly ).


4.
Transfer shift lever switch assembly


5.
Transfer shift lever switch


6.
Transfer shift lever switch bracket


7.
Dust cover retaining plate


8.
Dust cover


9.
Snap ring


10.
Transmission control lever assembly

INSTALLATION SERVICE POINT



>>A<< SLEEVE INSTALLATION



Install the sleeve with its groove facing to the direction shown in the figure, and then install the shift knob.