REMOVAL AND INSTALLATION



Bulb type






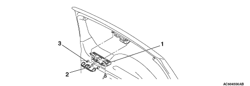
Removal steps


·
Back door upper trim (Refer to GROUP 52A, Back Door Trim ).


1.
High-mounted stop lamp assembly


2.
Socket


3.
Bulb

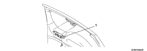
LED type






Removal step


·
Back door upper trim (Refer to GROUP 52A, Back Door Trim ).


1.
High-mounted stop lamp assembly