REMOVAL AND INSTALLATION


caution
  • Disconnect the negative (-) battery terminal and wait for 60 seconds or more before starting work. Insulate the disconnected (-)terminal by wrapping the tape (Refer to the item 5 of Service Precautions ).
  • Never attempt to disassemble or repair the air bag module. If faulty, replace it with new one.
  • Do not drop the air bag module or allow contact with water, grease or oil. If denting, cracking, or deformation is discovered, replace it with new one.
  • Store the air bag modules on a flat surface with the deployment surface facing up. Also, do not put anything on it.
  • Do not store the air bag module in a place more than 93°C.
  • When the air bags have been deployed, replace the and air bag module with new one.
  • Put on gloves and safety glasses when handling deployed air bags.
  • When discarding the air bag module, make sure to deploy the air bag before the disposal (Refer to ).

Pre-removal operation
  • Turn ignition switch to the LOCK (OFF) position.
  • Disconnect the negative (-) battery terminal.





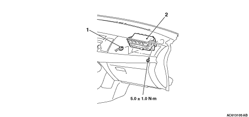
Removal steps
<<A>>

1.
Passenger’s (front) air bag module connector


·
Side defroster duct (Refer to GROUP 52A - Instrument Panel Assembly ).
<<B>>

2.
Passenger’s (front) air bag module



Installation steps

>>A<<
·
Pre-installation inspection


2.
Passenger’s (front) air bag module


·
Side defroster duct (Refer to GROUP 52A - Instrument Panel Assembly ).


1.
Passenger’s (front) air bag module connector

>>B<<
·
Post-installation inspection

REMOVAL SERVICE POINTS



<<A>> PASSENGER’S (FRONT) AIR BAG MODULE CONNECTOR REMOVAL




  1. Remove the grove box cover (Refer to GROUP 52A, Glove Box ).
  2. Slide the outer housing of the harness side connector in the arrow direction shown, and disconnect the connector.

<<B>> PASSENGER’S (FRONT) AIR BAG MODULE REMOVAL


caution
  • Never use an electric tester to diagnose the air bag module circuit. Never attempt to disassemble the air bag module.
  • The removed passenger’s air bag module should be stored in a clean, dry place with the deployment surface facing up.
  • When discarding the air bag module, discard after deploying the air bag as specified in the service procedure (Refer to ).

Insert a flat-tipped screwdriver or similar tool to the location shown in the figure. After disengaging the tabs, remove the passenger’s (front) air bag module.

INSTALLATION SERVICE POINTS



>>A<< PRE-INSTALLATION INSPECTION


1.Before the installation, check the air bag module (Refer to ).
note Even when installing a new air bag module, perform an inspection before the installation.
2.Connect the negative (-) battery terminal.
3.
caution Be sure to turn the ignition key to the LOCK (OFF) position when connecting or disconnecting M.U.T.-III.
Connect M.U.T.-III to the diagnosis connector (16 pin).
4.Turn the ignition switch to the ON position.
5.Read the diagnosis code, and check that everything is normal except the air bag module open circuit.
6.Turn the ignition switch to the LOCK (OFF) position.

>>B<< POST-INSTALLATION CHECK


1.Connect the negative (-) battery cable.
2.Turn the ignition switch to the "ON" position.

3.Check that the SRS warning lamp is illuminated for 6 to 8 seconds, and extinguished afterward.
4.If the lamp does not extinguish, perform the troubleshooting (Refer to ).