Code No. P0490: Exhaust gas recirculation valve (stepper motor) circuit malfunction (Battery short)












OPERATION



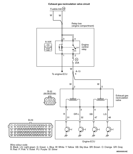
  • Power is supplied to the exhaust gas recirculation valve (terminal No. 2 and No. 5) from the engine control relay (terminal No. 2).
  • The engine-ECU (terminal No. 31, No. 32, No. 47 and No. 48) makes the power transistor in the unit be in ON position, and that makes currents go on the exhaust gas recirculation valve (terminal No. 1, No. 3, No. 4 and No. 6).

FUNCTION



  • In response to the signal from the engine-ECU, the exhaust gas recirculation valve (stepper motor) controls a flow rate of exhaust gas recirculation.

TROUBLE JUDGMENT


Check Conditions
  • Exhaust gas recirculation valve is ON.
  • While engine is running.
  • Battery positive voltage is 11 - 16.5 V.
Judgement Criterion
  • When the exhaust gas recirculation valve is de-energized, the engine-ECU voltage should be 6.7 V or more for 1.4 seconds.

PROBABLE CAUSES



  • Failed exhaust gas recirculation valve (stepper motor)
  • Short circuit in exhaust gas recirculation valve circuit or loose connector contact
  • Failed engine-ECU

DIAGNOSIS PROCEDURE


STEP 1. Connector check: B-32 exhaust gas recirculation valve connector


Q. Is the check result normal?

Go to Step 2 .
Repair or replace the connector.

STEP 2. Perform resistance measurement at B-32 exhaust gas recirculation valve connector.



  • Disconnect connector and measure at exhaust gas recirculation valve side.
  • Resistance between terminal No. 1 and No. 2.
  • Resistance between terminal No. 2 and No. 3.
  • Resistance between terminal No. 4 and No. 5.
  • Resistance between terminal No. 5 and No. 6.
OK: 20 - 24 Ω (at 20°C)

Q. Are the check results normal?

Go to Step 3 .
Replace the exhaust gas recirculation valve.

STEP 3. Connector check: B-29 engine-ECU connector


Q. Is the check result normal?

Go to Step 4 .
Repair or replace the connector.

STEP 4. Check harness between exhaust gas recirculation valve connector and engine-ECU connector.



  1. Check harness between B-32 (terminal No. 1) exhaust gas recirculation valve connector and B-29 (terminal No. 31) engine-ECU connector.
  2. Check harness between B-32 (terminal No. 3) exhaust gas recirculation valve connector and B-29 (terminal No. 32) engine-ECU connector.
  3. Check harness between B-32 (terminal No. 4) exhaust gas recirculation valve connector and B-29 (terminal No. 47) engine-ECU connector.
  4. Check harness between B-32 (terminal No. 6) exhaust gas recirculation valve connector and B-29 (terminal No. 48) engine-ECU connector.

  • Check output line for short circuit.

Q. Are the check results normal?

Go to Step 5 .
Repair the damaged harness wire.

STEP 5. M.U.T.-III diagnosis code



  • Reconfirmation of diagnosis code.

Q. Is diagnosis code set?

Replace the engine-ECU.
Intermittent malfunction (Refer to GROUP 00 - How to Use Troubleshooting/Inspection Service Points - How to Cope with Intermittent Malfunctions ).