INSPECTION PROCEDURE 15: Blower motor power supply system














COMMENTS ON TROUBLE SYMPTOM


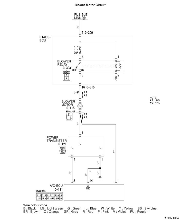
If the blower motor is not energised, the blower relay system is suspected.

PROBABLE CAUSES



  • Malfunction of the blower relay
  • Wiring harness or connector failure
  • Malfunction of ETACS-ECU

DIAGNOSTIC PROCEDURE


STEP 1. Connector check: C-303 blower relay connector


Q. Is the check result normal?

Go to Step 2.
Repair the connector concerned.

STEP 2. Measure the voltage at C-303 blower relay connector.


(1)Remove the relay, and measure at the junction block side.
(2)Voltage between terminals 1, 4 and body earth
OK: Battery positive voltage

Q. Is the check result normal?

Go to Step 4.
Go to Step 3.

STEP 3. Check the wiring harness between C-303 blower relay connector terminal No. 3 and fusible link (38).



  • Check the power supply line for open circuit.
note Prior to the wiring harness inspection, check ETACS-ECU connector C-309, and repair if necessary.

Q. Is the check result normal?

Intermittent malfunction (Refer to GROUP 00 - How to Use Troubleshooting/Inspection Service Points - How to Cope with Intermittent Malfunction ).
Repair the wiring harness.

STEP 4. Connector check: C-115 blower motor connector


Q. Is the check result normal?

Go to Step 5.
Repair the connector concerned.

STEP 5. Check the wiring harness between C-115 blower motor connector terminal No. 2 <RHD> or 1 <LHD> and C-303 blower relay connector terminal No. 3.


note Prior to the wiring harness inspection, check junction block connector C-315, and repair if necessary.

Q. Is the check result normal?

Go to Step 6.
Repair the wiring harness.

STEP 6. Retest the system.


Check that the blower motor is energised.

Q. Is the check result normal?

Intermittent malfunction (Refer to GROUP 00 - How to Use Troubleshooting/Inspection Service Points - How to Cope with Intermittent Malfunction ).
Replace ETACS-ECU.