INSPECTION PROCEDURE 16: A/C-ECU power supply system














COMMENTS ON TROUBLE SYMPTOM


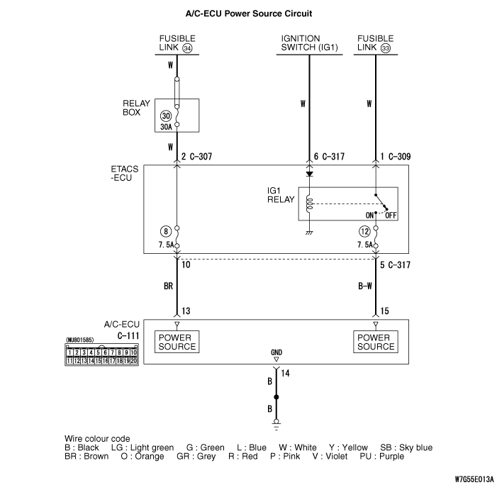
If the A/C-ECU is not energised, the power supply or earth system to the ECU may be defective.

PROBABLE CAUSES



  • Malfunction of A/C-ECU
  • Wiring harness or connector failure

DIAGNOSTIC PROCEDURE


STEP 1. M.U.T.-III other system’s diagnosis code


Check that the ETACS-ECU has not set a diagnosis code.

Q. Is the diagnosis code set?

Carry out the diagnosis code procedures . Refer to GROUP 54A, ETACS-ECU .
Go to Step 2.

STEP 2. Connector check: C-111 A/C-ECU connector


Q. Is the check result normal?

Go to Step 3.
Repair the connector concerned.

STEP 3. Measure the voltage at the C-111 A/C-ECU connector.


(1)Disconnect the connector, and measure at the wiring harness side.
(2)Ignition switch: ON
(3)Voltage between terminal No. 15 and body earth
OK: Battery voltage

Q. Is the check result normal?

Go to Step 6.
Go to Step 4.

STEP 4. Connector check: C-317 ETACS-ECU connector


Q. Is the check result normal?

Go to Step 5.
Repair the connector concerned.

STEP 5. Check the wiring harness between C-111 A/C-ECU connector terminal No. 15 and C-317 ETACS-ECU connector terminal No. 5.



  • Check the power supply line for open circuit.

Q. Is the check result normal?

Intermittent malfunction (Refer to GROUP 00 - How to Use Troubleshooting/Inspection Service Points - How to Cope with Intermittent Malfunction ).
Repair the wiring harness.

STEP 6. Measure the voltage at the C-111 A/C-ECU connector.


(1)Disconnect the connector, and measure at the wiring harness side.
(2)Voltage between terminal No. 13 and body earth
OK: Battery voltage

Q. Is the check result normal?

Go to Step 8.
Go to Step 7.

STEP 7. Check the wiring harness between C-111 A/C-ECU connector terminal No. 13 and C-317 ETACS-ECU connector terminal No. 10.



  • Check the power supply line for open circuit.

Q. Is the check result normal?

Intermittent malfunction (Refer to GROUP 00 - How to Use Troubleshooting/Inspection Service Points - How to Cope with Intermittent Malfunction ).
Repair the wiring harness.

STEP 8. Measure the resistance at the C-111 A/C-ECU connector.


(1)Disconnect the connector, and measure at the wiring harness side.
(2)Resistance between terminal No. 14 and body earth
OK: Continuity exists (2 Ω or less)

Q. Is the check result normal?

Replace the A/C-ECU.
Go to Step 9.

STEP 9. Check the wiring harness between C-111 A/C-ECU connector terminal No. 14 and body earth.



  • Check the earth wires for open circuit.

Q. Is the check result normal?

Intermittent malfunction (Refer to GROUP 00 - How to Use Troubleshooting/Inspection Service Points - How to Cope with Intermittent Malfunction ).
Repair the wiring harness.