Code No. P0103: Air Flow Sensor Circuit High Input










OPERATION



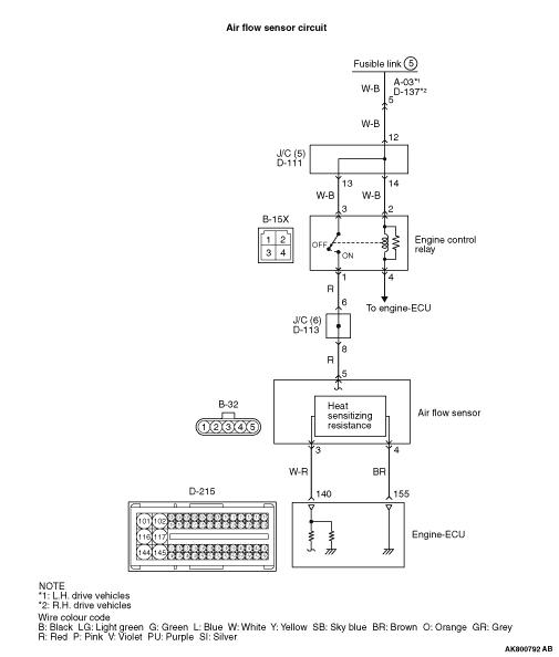
  • Power is supplied by the engine control relay (terminal No. 1) to the air flow sensor (terminal No. 5), and the air flow sensor (terminal No. 4) is earthed through the engine-ECU (terminal No. 155).
  • The air flow sensor (terminal No. 3) outputs a sensor signal, which is input into the engine-ECU (terminal No. 140).

FUNCTION



  • The air flow sensor outputs pulse signal that varies in accordance with the intake air volume.
  • In response to the signal, the engine-ECU controls exhaust gas recirculation control, etc.

TROUBLE JUDGMENT


Check Conditions
  • Battery positive voltage is 8 - 16 V
  • 2 seconds later after the ignition switch has been in "ON" position or the engine has started up.
Judgment Criterion
  • The air flow sensor output voltage is 4.72 V or more.

PROBABLE CAUSES



  • Failed air flow sensor
  • Open/short circuit or harness damage in air flow sensor circuit or loose connector contact
  • Failed engine-ECU

DIAGNOSTIC PROCEDURE


STEP 1. M.U.T.-III data list



  • Refer to Data List Reference Table .

  1. Item 114: Air flow sensor

Q. Is the check result normal?

Intermittent malfunction (Refer to GROUP 00 - How to Use Troubleshooting/Inspection Service Points - How to Cope with Intermittent Malfunctions ).
Go to Step 2 .

STEP 2. Connector check: B-32 air flow sensor connector


Q. Is the check result normal?

Go to Step 3 .
Repair or replace the connector.

STEP 3. Perform resistance measurement at B-32 air flow sensor connector.



  • Disconnect connector, and measure at harness side.
  • Resistance between terminal No. 4 and earth.
OK: Continuity (2 Ω or less)

Q. Is the check result normal?

Go to Step 7 .
Go to Step 4 .

STEP 4. Connector check: D-215 engine-ECU connector


Q. Is the check result normal?

Go to Step 5 .
Repair or replace the connector.

STEP 5. Check harness between B-32 (terminal No. 4) air flow sensor connector and D-215 (terminal No. 155) engine-ECU connector.



  • Check earthing line for open circuit and damage.

Q. Is the check result normal?

Go to Step 6 .
Repair the damaged harness wire.

STEP 6. M.U.T.-III data list



  • Refer to Data List Reference Table .

  1. Item 114: Air flow sensor

Q. Is the check result normal?

Intermittent malfunction (Refer to GROUP 00 - How to Use Troubleshooting/Inspection Service Points - How to Cope with Intermittent Malfunctions ).
Replace the engine-ECU. When the engine-ECU is replaced, write the chassis number (Refer to GROUP 00 - Precautions Before Service - How to Perform Chassis Number Writing ). After replacing the engine-ECU, register the injector identification code and learn fuel injection (Refer to GROUP 00 - Precautions Before Service - What The Common Rail Engine Learns ). After registering the injector identification code, the vehicle equipped with the closed type DPF carries out the forcible DPF regeneration. (Refer to GROUP 17 - Diesel Particulate Filter (DPF) System - Forcible DPF Regeneration ).

STEP 7. Connector check: D-215 engine-ECU connector


Q. Is the check result normal?

Go to Step 8 .
Repair or replace the connector.

STEP 8. Check harness between B-32 (terminal No. 3) air flow sensor connector and D-215 (terminal No. 140) engine-ECU connector.



  • Check output line for short circuit.

Q. Is the check result normal?

Go to Step 9 .
Repair the damaged harness wire.

STEP 9. Replace the air flow sensor.



  • After replacing the air flow sensor, re-check the trouble symptoms.

Q. Is the check result normal?

Check end.
Replace the engine-ECU. When the engine-ECU is replaced, write the chassis number (Refer to GROUP 00 - Precautions Before Service - How to Perform Chassis Number Writing ). After replacing the engine-ECU, register the injector identification code and learn fuel injection (Refer to GROUP 00 - Precautions Before Service - What The Common Rail Engine Learns ). After registering the injector identification code, the vehicle equipped with the closed type DPF carries out the forcible DPF regeneration. (Refer to GROUP 17 - Diesel Particulate Filter (DPF) System - Forcible DPF Regeneration ).