REMOVAL AND INSTALLATION



Pre-removal Operation
  • Floor Console Removal (Refer to GROUP 52A, Floor Console Assembly ).
  • Shoe and Lining Assembly Removal (Refer to <Short wheelbase, Long wheelbase-3000> or <Long wheelbase-3800, 3200>).

Post-installation Operation
  • Shoe and Lining Assembly Installation (Refer to <Short wheelbase, Long wheelbase-3000> or <Long wheelbase-3800, 3200>).
  • Parking Brake Lever Stroke Check and Adjustment (Refer to ).
  • Floor Console Installation (Refer to GROUP 52A, Floor Console Assembly ).






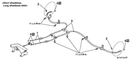
Removal steps

>>A<<
1.
Parking brake rear cable connection


2.
Clip <Short wheelbase>


3.
Parking brake rear cable


4.
O-ring

INSTALLATION SERVICE POINT



>>A<< PARKING BRAKE REAR CABLE INSTALLATION


caution Check that the equaliser and the parking brake rear cable are connected correctly. If the parking brake is applied with the equaliser and the parking brake rear cable connected improperly, the equaliser may be damaged.

Connect the parking brake rear cable to the equaliser as shown in the figure.